
欧洲标准EN15878规定了各种钢货架存储系统及其基础组件与配件的名称与术语,同时附录中也包含了一些机械搬运设备、托盘、容器的名称与术语。其中不乏不易翻译成中文的、即使翻译了也词不达意的术语。之前笔者在阅读其他欧洲规范时,遇到一些专业的名词都不知道是指的哪种设备,直到看到EN15878中的示意图才有了形象的认识。
货架存储系统类型表
章节 | 存储单元类型 | 章节 | 货架类型 |
1.1 | 1.1.1 | Adjustable pallet racking可调横梁式货架 | |
1.1.2 | Drive-in and drive-through pallet racking驶入式货架 | ||
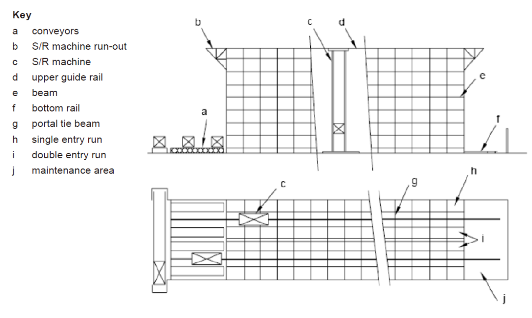
1.1.3 | S/R machine pallet racking横梁式堆垛机货架(即横梁式立库货架) | ||
1.1.4 | Open face pallet racking牛腿式货架 | ||
1.2 | 机械存储的小部件 | 1.2.1 | Open face miniload racking牛腿式料箱货架 |
1.2.2 | Multi-location miniload racking多储位料箱货架(类似横梁式) | ||
1.3 | 手动存储的小部件 | 1.3.1 | Shelving搁板式货架 |
1.3.2 | Multi-tier shelving多层搁板式货架 | ||
1.3.3 | Cantilever shelving – Gondola悬臂式搁板架 | ||
1.4 | 长尺寸部件 | 1.4.1 | Cantilever racking悬臂式货架 |
1.4.2 | Cassette racking | ||
1.5 | 动态存储的托盘货物 | 1.5.1 | Mobile racking移动式货架 |
1.5.2 | Pallet live storage托盘流利式货架 | ||
1.5.3 | Shuttle racking穿梭车货架 | ||
1.6 | 动态存储的小部件 | 1.6.1 | Mobile shelving移动柜货架 |
1.6.2 | Carton live stoOpen face pallet rackingrage料盒流利式货架 | ||
1.6.3 | Carousels旋转货架 | ||
1.6.4 | Storage lifts | ||
1.7 | 其他 | 1.7.1 | Mezzanine floor阁楼 |
1.7.2 | Raised floor平台 | ||
1.7.3 | Rack-clad库架合一 |
其中有两种货架不知道中文名是什么,直接看图吧。

1.1.1 Adjustable pallet racking可调横梁式货架

1.1.2 Drive-in and drive-through pallet racking驶入式货架

1.1.3 S/R machine pallet racking横梁式堆垛机货架(即横梁式立库货架)

1.1.4 Open face pallet racking牛腿式货架

1.2.1 Open face miniload racking牛腿式料箱货架

1.2.2 Multi-location miniload racking多储位料箱货架(类似横梁式)

1.3.1 Shelving搁板式货架

1.3.2 Multi-tier shelving多层搁板式货架

1.3.3 Cantilever shelving – Gondola悬臂式搁板架

1.4.1 Cantilever racking悬臂式货架

1.4.2 Cassette racking

1.5.1 Mobile racking移动式货架

1.5.2Pallet live storage托盘流利式货架

1.5.3 Shuttle racking穿梭车货架

1.6.1 Mobile shelving移动柜货架

1.6.2 Carton live stoOpen face pallet rackingrage料盒流利式货架

1.6.3 Carousels旋转货架

1.6.4 Storage lifts

1.7.1 Mezzanine floor阁楼

1.7.2 Raised floor平台

1.7.3 Rack-clad库架合一
二、搬运设备
2.1 Hand pallet truck 2.2 Powered hand pallet truck 2.3 Stacker 2.4 Ride-on stacker 2.5 Four-wheel counterbalanced truck 2.6 Reach truck 2.7 Articulated counterbalanced pallet truck 2.8 Very narrow aisle trilateral man-down pallet truck with rotating fork 2.9 Very narrow aisle trilateral man-up pallet truck with movable fork 2.10 Four way truck 2.11 S/R machine










3.1 European pallet |
3.2 Perimeter base pallet (top view) |
3.3 Perimeter base pallet (underside view) |
3.4 Three bearer pallet |
3.5 Double wing pallet |
3.6 Maritime pallet |
3.7 American four way entry pallet |
3.8 Stillage |
3.9 Stacking container |
3.10 Nesting container |
3.11 Stack and nest containers |
3.12 Open fronted container |
3.13 Hook-on container |
3.14 Wire container |
3.15 Skid container |
3.16 Leg container |
3.17 European container | |
本站的原创文章,请转载时务必注明出处:稳图WESAFE,不尊重原创的行为我们将追究责任。

