问:实际安装中立柱组撑杆有口对口的,有背靠背的。如何布置比较有利?
答:
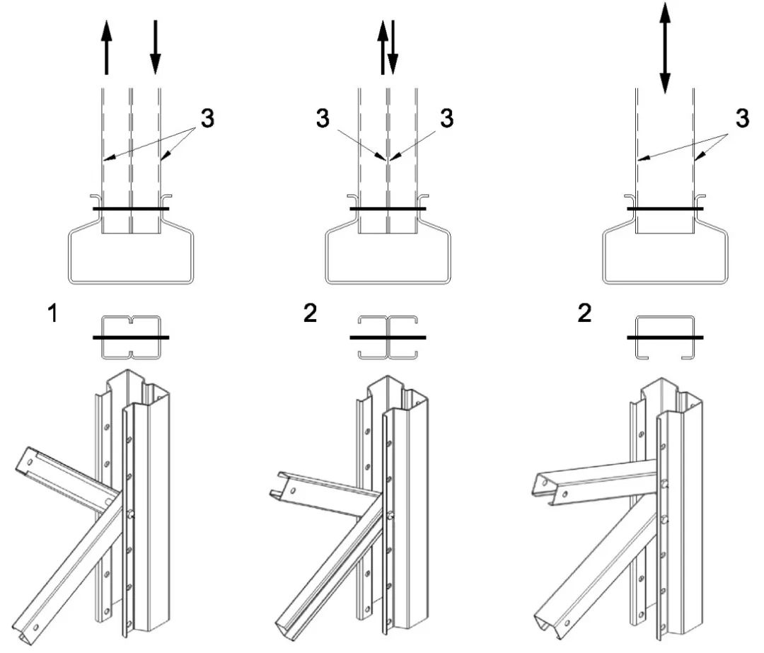
对于第一个问题,如下图所示。
在沿立柱组平面内水平荷载作用下,立柱组上下相邻的两根撑杆,一拉一压。对于口对口的情况,两个力的作用点间距较大,力偶对立柱的扭转效应明显,从而降低立柱的承载力。对于背靠背的情况,两个撑杆力作用点间距较小,对立柱的扭转效应可忽略,因此比较有利。当采用撑杆不共节点时,扭转效应消失,更有利,只不过安装工作增加了。
本站的原创文章,请转载时务必注明出处:稳图WESAFE,不尊重原创的行为我们将追究责任。