窄巷式货架巷道地坪(以下称为VNA地坪)的规整度对窄巷式叉车(以下称为VNA叉车)的正常工作状况有至关重要的影响。叉车高度提升后,地坪细微的高差被数倍放大于叉车顶部,如下图和下表所示。如果此时叉车正在行驶中的话,那么由于动力效应放大的倍数可能从10倍升到30倍,这对叉车的行驶安全、仓储的运营效率及叉车的部件使用寿命都极其不利。
货架越高,其VNA地坪的规整度越重要。各地坪检测标准及其适用性如下表所示。
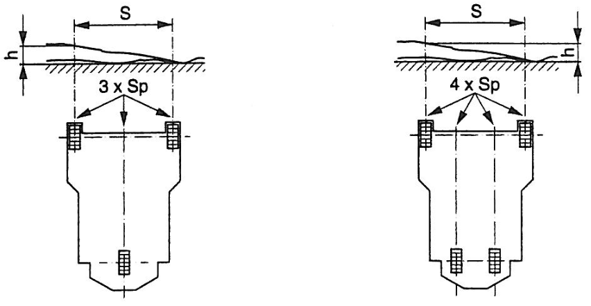
TR34标准通过四个特征值模拟VNA叉车的车轮行驶轨迹,精确反映叉车行驶到某个位置的摆动及偏差,判断VNA巷道是否真正满足叉车使用要求,也可为地坪整改提供精确位置及数据。
dZ-叉车左轮和右轮之间的高差(mm)
dX-叉车前轴和后轴的相对高差(mm)
d2Z-叉车每前行300mm dZ的变化量(mm)
d2X-叉车每前行300mm dX的变化量(mm)
通过限定这四个特征值,把VNA叉车的纵向和横向可能发生的摇摆和晃动锁定在合理范围内。根据货架高度选择不同地坪等级,具体标准如下表所示。
EN 15620最新版本为2021版,但是此版本中无VNA地坪的具体标准。只有EN 15620:2008规定了VNA地坪的检测标准,其内容与TR34标准完全相同。
ACI标准
ACI标准根据VNA叉车轮距值与F-min值,公式计算得出各车轮所需的高差容许限值。其中,F-min则通过查下表确定。
如下图所示,根据VNA叉车实际轮距L1和L2的数值及根据货架高度查表得到的F-min值,带入以下公式得到左右轮、前后轴的容许高差限值:横向dL2max和纵向dL1max(同TR34中的dZ和dX)以及左右轮、前后轴的容许高差变化率限值:EL2max和EL1max(同TR34中的d2Z和d2X)。
该标准就横向和纵向分别做出了规定,如下图所示。
横向:以6m提升高度为界,对VNA叉车左右轮相对高差h做出规定(同TR34中的dZ),见下表。
纵向:靠尺测量,遵照DIN 18202的规定,即靠尺测量长度1m时限值为2mm,2m时3mm,3m时4mm,4m时5mm。
VDMA标准规定的检测方法被FEM 10.2.14&FEM 4.103标准所采用。
(1)横向:dZ值与TR34中dZ是同一个概念,但比TR34更严格。
(2)纵向:与DIN 18202规定相同,为沿巷道方向的靠尺测量标准,同DIN15185。
(3)Fx值
di为地坪上间距50mm的相邻两点的高差,qi=di-di-1.
对于一段2m长的测量长度,可以得到38个qi数据。然后按照下列步骤计算Fx:
Fx为短波值,是按照概率统计方法计算得到的。标准规定所有2m范围内的Fx值,不应超过下表规定的限值:
本站的原创文章,请转载时务必注明出处:稳图WESAFE,不尊重原创的行为我们将追究责任。